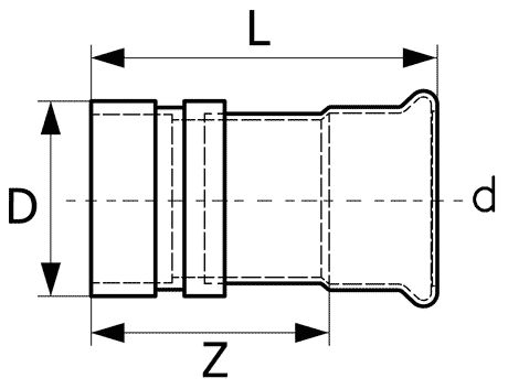
Roll Groove Adaptor
The Roll Groove Adaptor provides a connection point to join the Europress pipework to an existing Roll Groove fitting or vice versa. The pipe diameter is d and the Roll Groove diameter is D. The overall length is L, with Z being the distance between the end of the Europress stainless steel pipe and the face of the Roll Groove Adaptor.
SKU: SPR0.028025
you are here:
Categories
Related Products




















