Pipe - Pipe Barrel Union Stainless Steel Nut EPDM Flat Seal
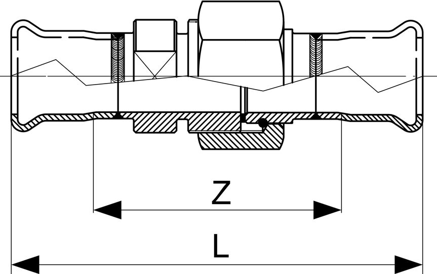
The Pipe - Pipe Barrel union provides disconnection capacity at any point in the pipework. All the metal components are 316L stainless steel for maximum protection.. A flat EPDM seal is standard with FPM or HNBR available as options. The pipe diameter is D and the overall length is L with Z being the finished distance between the two ends of the pipe.
SKU: SPPN.015015
Categories
Related Products




















